Схема работы замка

Схема работы замка. Схема дверного замка входной двери внутренний. Устройство личинки дверного замка схема. Замок дверной врезной для стальной двери схема. Схема работы замка.
Схема работы замка. Схема дверного замка входной двери внутренний. Устройство личинки дверного замка схема. Замок дверной врезной для стальной двери схема. Схема работы замка.
Внутреннее устройство навесного замка apecs. Сувальдный замок для металлической двери схема. Схема сувальдного замка входной двери. Схема строения сувальдного замка. Схема межкомнатного замка с защелкой с ручкой.
Внутреннее устройство навесного замка apecs. Сувальдный замок для металлической двери схема. Схема сувальдного замка входной двери. Схема строения сувальдного замка. Схема межкомнатного замка с защелкой с ручкой.
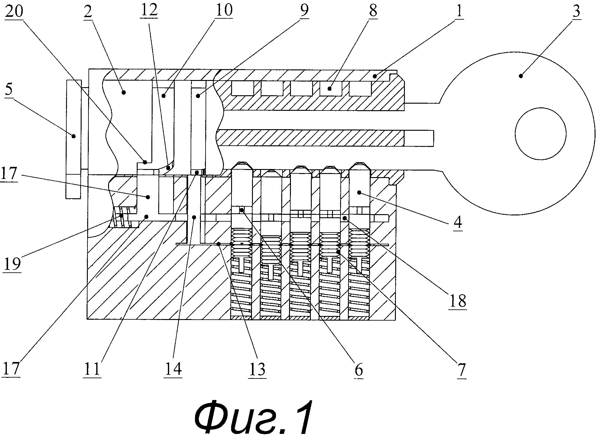
Замок навесной сувальдный вс-5 механизм. Схема работы замка. Дверной замок для входной двери конструкция схема. Сувальдный механизм замка чертёж. Схема работы замка.
Замок навесной сувальдный вс-5 механизм. Схема работы замка. Дверной замок для входной двери конструкция схема. Сувальдный механизм замка чертёж. Схема работы замка.
Чертеж навесного замка для токаря. Схема дверного замка с защелкой и поворотной ручкой. Устройство дверного замка с защелкой с ручкой входной двери. Схема работы замка. Схема работы замка.
Чертеж навесного замка для токаря. Схема дверного замка с защелкой и поворотной ручкой. Устройство дверного замка с защелкой с ручкой входной двери. Схема работы замка. Схема работы замка.
Замок дверной врезной схема пружин. Схема личинки дверного замка внутри. Схема работы замка. Схема личинки дверного замка. Замок дверной врезной советский схема.
Замок дверной врезной схема пружин. Схема личинки дверного замка внутри. Схема работы замка. Схема личинки дверного замка. Замок дверной врезной советский схема.
Схема работы замка. Схема личинки дверного замка. Схема цилиндрового механизма замка. Навесной сувальдный замок схема. Схема устройства сдвоенного цилиндрового замка.
Схема работы замка. Схема личинки дверного замка. Схема цилиндрового механизма замка. Навесной сувальдный замок схема. Схема устройства сдвоенного цилиндрового замка.
Схема сувальдного замка. Дверной замок schloss 2041 схема сборки. Устройство замка входной двери схема. Schloss 2041 схема замка. Устройство сувальдного замка.
Схема сувальдного замка. Дверной замок schloss 2041 схема сборки. Устройство замка входной двери схема. Schloss 2041 схема замка. Устройство сувальдного замка.
Конструкция личинки дверного замка. Цилиндровый механизм для замка личинка схема. Схема навесного сувальдного замка. Схематическое устройство навесного замка цилиндрового. Схема работы замка.
Конструкция личинки дверного замка. Цилиндровый механизм для замка личинка схема. Схема навесного сувальдного замка. Схематическое устройство навесного замка цилиндрового. Схема работы замка.
Схема личинки дверного замка двери. Схема крепления личинки дискового навесного замка. Схема личинки дверного замка двери. Как устроен кодовый замок навесной внутри. Схема личинки дверного замка.
Схема личинки дверного замка двери. Схема крепления личинки дискового навесного замка. Схема личинки дверного замка двери. Как устроен кодовый замок навесной внутри. Схема личинки дверного замка.
Схема работы замка. Замок сейфовый кодовый. Замок дверной врезной схема пружин. Цилиндровый механизм для замка личинка схема. Схема работы замка.
Схема работы замка. Замок сейфовый кодовый. Замок дверной врезной схема пружин. Цилиндровый механизм для замка личинка схема. Схема работы замка.
Схема внутреннего замка входной двери с защелкой. Схема сборки сувальдного замка. Схема работы замка. Схема работы замка. Схема дверного замка входной двери с защелкой.
Схема внутреннего замка входной двери с защелкой. Схема сборки сувальдного замка. Схема работы замка. Схема работы замка. Схема дверного замка входной двери с защелкой.
Принцип работы цилиндрового замка. Схема работы замка. Схема личинки дверного замка. Конструкция навесного кодового замка. Навесной сувальдный замок схема.
Принцип работы цилиндрового замка. Схема работы замка. Схема личинки дверного замка. Конструкция навесного кодового замка. Навесной сувальдный замок схема.
Схема сувальдного механизма замка. Схема дверного замка с ручкой с защелкой. Схема сувальдного замка входной двери. Устройство врезного сувальдного замка схема. Схема накладного замка входной двери сборка.
Схема сувальдного механизма замка. Схема дверного замка с ручкой с защелкой. Схема сувальдного замка входной двери. Устройство врезного сувальдного замка схема. Схема накладного замка входной двери сборка.
Принцип работы личинки замка. Схема дверного замка punto. Схема работы замка. Цилиндровый механизм для замка личинка схема. Устройство навесного замка замок цилиндровый аблой.
Принцип работы личинки замка. Схема дверного замка punto. Схема работы замка. Цилиндровый механизм для замка личинка схема. Устройство навесного замка замок цилиндровый аблой.
Схема работы замка. Замок сувальдный врезной 3в4 меттэм схема. Цилиндровый механизм для замка личинка схема. Дверной внутренний замок 2107 схема. Схема крепления личинки дискового навесного замка.
Схема работы замка. Замок сувальдный врезной 3в4 меттэм схема. Цилиндровый механизм для замка личинка схема. Дверной внутренний замок 2107 схема. Схема крепления личинки дискового навесного замка.
Схема дверного замка с защелкой и поворотной ручкой. Схема работы замка. Чертёж. Дверной замок schloss 2019 схема. Схема работы замка.
Схема дверного замка с защелкой и поворотной ручкой. Схема работы замка. Чертёж. Дверной замок schloss 2019 схема. Схема работы замка.
Схема работы замка. Устройство дверного замка с защелкой с ручкой входной двери. Схема личинки дверного замка. Схема межкомнатного замка с защелкой с ручкой. Схема работы замка.
Схема работы замка. Устройство дверного замка с защелкой с ручкой входной двери. Схема личинки дверного замка. Схема межкомнатного замка с защелкой с ручкой. Схема работы замка.
Как устроена личинка дверного замка. Цилиндровый замок схема криминалистика. Схема дверного замка входной двери с защелкой. Устройство личинки замка входной двери. Цилиндр (личинка) замка схема.
Как устроена личинка дверного замка. Цилиндровый замок схема криминалистика. Схема дверного замка входной двери с защелкой. Устройство личинки замка входной двери. Цилиндр (личинка) замка схема.
Схема сувальдного замка входной двери. Устройства личинки замка схема. Схема устройства сдвоенного цилиндрового замка. Дверной замок schloss 2019 схема. Схема личинки дверного замка двери.
Схема сувальдного замка входной двери. Устройства личинки замка схема. Схема устройства сдвоенного цилиндрового замка. Дверной замок schloss 2019 схема. Схема личинки дверного замка двери.
Цилиндровый замок схема криминалистика. Схема работы замка. Устройство личинки замка входной двери. Замок сувальдный врезной 3в4 меттэм схема. Устройства личинки замка схема.
Цилиндровый замок схема криминалистика. Схема работы замка. Устройство личинки замка входной двери. Замок сувальдный врезной 3в4 меттэм схема. Устройства личинки замка схема.